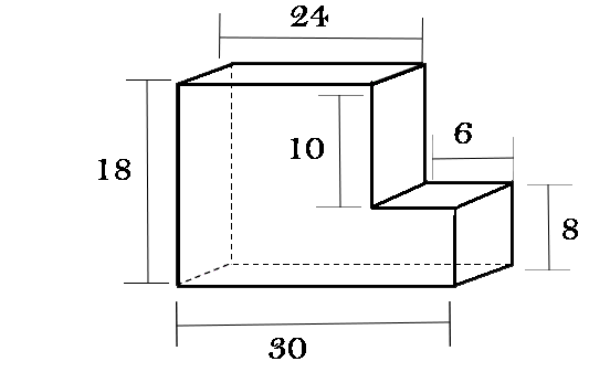
5x18x30x8x6x10x24HDFLShape Posted on February 13, 2024 at 10:36 am by / / 0 3x15-5x30-5MDF 3x11x14MDF
Leave a Reply